How to change the Dell 3100MP projector lamp

Dell_3100MP_projector_Dell 310-1705_projector_lampWhen it’s time to replace the Dell 3100MP projector lamp, this guide shows you how.

End of projector lamp warnings

It’s time for a new Dell 3100MP projector lamp when this message appears on screen: Lamp may fail soon! Replacement suggested! Just before the projector lamp reaches end of life you may notice a change in color on the screen or a distorted picture.  Don’t wait to change the projector or it may explode from over use.

The importance of authentic lamps

The Dell 3100MP projector needs an OEM Dell 310-1705 projector lamp to keep working at its best. While counterfeits are tempting due to their bargain prices, they can’t be calibrated properly so they can damage the sensitive optics in your Dell 3100MP projector. They also have much shorter life due to their tendency to explode and present a health hazard. Save yourself hassles and purchase an authentic projector lamp! Look for the seal of approval before purchasing.

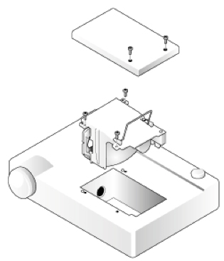
Replacing the Dell 3100MP projector lamp

Before replacing the Dell 310-1705 projector lamp follow these safety tips:

  • Turn the projector off and disconnect the AC plug.
  • Let the Dell 3100MP projector cool down for at least 30 minutes so it’s cool to the touch. Don’t attempt to change the lamp when the projector is still hot as you can get severely burned.

Dell_3100MP_projector_Dell 310-1705_replacement_projector_lamp

  • Place the Dell 3100MP on a soft surface and turn in upside down to access the projector lamp cover. Loose the two screws that hold the projector lamp cover in place.
  • Loosen the three screws that secure the projector lamp.
  • Pull the projector lamp up by its metal handle. Pulling too quickly can cause the bulb to shatter. NOTE: The Dell 310-1705 projector lamp contains small traces of mercury so must be properly recycled.
  • Install the new Dell 310-1705 projector lamp making sure it is properly aligned into the projector.
  • Tighten the three screws on the Dell 310-1705projector lamp.
  • Replace the projector lamp cover and tighten the two screws.
  • You are now ready to reset the lamp timer.

Reset the Dell 3100MP projector lamp counter

The Dell 3100MP projector tracks the life of the Dell 310-1705 projector lamp through its internal timer. Each time you replace the projector lamp you must reset the lamp timer to zero. Failure to do so can result in you using the projector past the optimum lamp life and causing the projector lamp to explode.

 Dell_3100MP_projector_Dell 310-1705_reset_projector_lamp_timer

  • To access the Main Menu press the left or right buttons on your projector’s control panel or remote control.
  • Scroll over the the Management Menu. Press ENTER to access.
  • Scroll down to the Menu Location icon. Press ENTER.
  • Scroll over to the Lamp Reset icon. Press ENTER.
  • Scroll down to answer YES and press ENTER to reset the projector lamp timer.

Tips for extending Dell 3100MP projector lamp life:

  • Keep your air filters clean to avoid overheating the projector.
  • Every 24 hours, turn off the projector and let it stand for 1 hour
  • Make sure there is enough airflow around the Dell 3100MP projector particularly if it’s been permanently mounted.
  • Learn more with Top tips for extending DLP projector lamp life.

 

Tagged with: , ,

Leave a Reply

Your email address will not be published. Required fields are marked *

*

Time limit is exhausted. Please reload CAPTCHA.

This site uses Akismet to reduce spam. Learn how your comment data is processed.